(一)高速光模块的市场概况
近些年,高速光模块市场迎来快速增长。5G基建建设的持续推进和互联网时代数据市场的需求爆发持续刺激着对50G/100G/200G/400G高速光模块的需求。全球100G/200G/400G的光模块在未来3到5年预计会以30%的CAGR持续增长。

图1:高速光模块的市场出货量(Y16-Y22F)
5G基站建设架构从RRU+BBU进化到AAU+CU+DU推动出前传光模块,中传光模块及回传光模块市场需求:
1.前传光模块主要使用在AAU到DU之间的光信号传输,集中在25G和50G的高速光模块。前传光模块的市场需求量相比于后两者更大,在未来四年预计有48Mu的市场需求量。
2.中传光模块主要应用在DU和CU之间的光电信号转换。这一部分的数据量更大,中传光模块主要集中在50G和100G的高速光模块,预计在未来四年的总市场需求量在16Mu。
3.回传光模块主要应用于CU与承载网服务器之间,有着最高的信号速率要求,集中于100G,200G及400G,未来四年的市场需求在7Mu。

图2:5G基站建设的整体架构
数据中心市场对高速光模块的需求在仅几年也持续提高。得益于两点:
1.传统三层网络结构式服务器架构向叶脊架构数据中心的进化:大大增加了数据中心内部交换连接点的数量,对应提高了对高速光模块的数量需求;

图3:数据中心架构演进
2.互联网时代加成云计算云存储概念,持续点燃着数据中心的建设。我国数据中心数量也从2012年的1万个到如今的7.4万个,已建成的超大型、大型数据中心数量占比达到12.7%。数据中心市场的持续升温也同样刺激着高速光模块的市场需求。
(二)TI电源及信号链解决方案助力光模块小体积布板设计
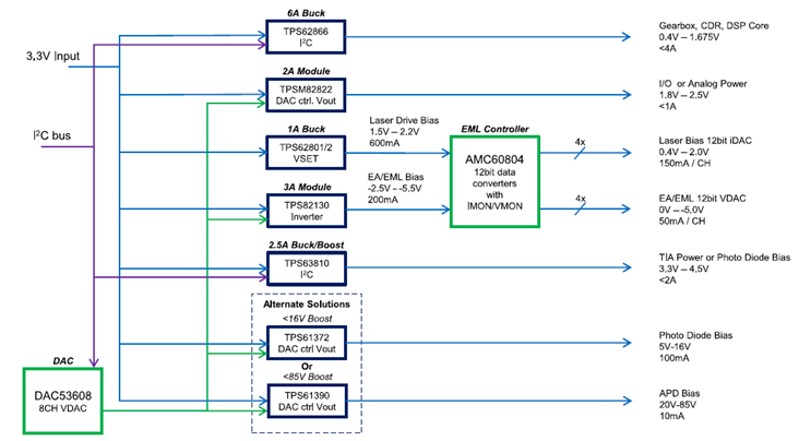
光模块产品本身体积较小,工程师在使用体积较大的电源及信号链芯片时,往往会使设计受限于Layout。TI提供完整的高速光模块供电链路供工程师设计参考使用。具体参考如下框图:

图4:TI参考推荐高速光模块供电轨方案
从金手指的3.3V接口供电到各个光模块内的不同应用单元,TI都提供了不同类型的超小封装电源及信号链产品解决方案。我们将从如下4个主要的功能大块做详细介绍:
1.激光发射器驱动器(LDD)供电单元:
针对于不同厂家的激光发射器驱动器的供电电压的不同,在此处的电源方案设计分为两种不同的拓扑类型:Buck电源解决方案和Buck-boost电源解决方案。较普遍的供电电流需求在小于3A。较高开关频率的DC/DC芯片可以降低对电路设计时外围功率电感的感量和最大不饱和电流值的要求,进而提高整个布板效率。同时高开关频率的DCDC电源芯片对输出电流的纹波抑制也有较高的抑制作用。
Buck电源解决方案汇总如下。TI提供两种不同类型的Buck芯片:转换器芯片及电源模块。高开关频率的转换器芯片可以有效降低电感尺寸进而精进占板面积。而集成度更高的电源模块产品将电感及部分输入输出电容集成,不仅在精进占板面积上有更优质的表现,同时在降低EMI,简化设计上为工程师提供便捷。
TPS6280x | TPS62825/6/7 | TPSM82821 TPSM82822 TPSM82823 | TPS82084 TPS82085 | |
Module or Convert | Convert | Convert | Module | Module |
Package | 0.70× 1.05 mm WCSP | 1.5 x 2 mm QFN | 2.0 x 2.5 x 1.1mm uSIP | 2.8 x 3.0 x 1.3mm Micro SIP |
Solution size | 5mm² | 36 mm² (*822) | 22-29mm2 | 35mm2 |
fSW | 1.5 MHz | 2.2 MHz | 4MHz | 2.4MHz |
VIN range VOUT range Iout(max) | 1.8V to 5.0V 0.4V to 3.3V 0.6A | 2.4V to 5.5V ADJ:0.6V to 4.0V 2A/3A | 2.4V to 5.5V ADJ:0.6V to 4.0V 1A/2A/3A pin2pin | 2.5V to 6V ADJ:0.8V to Vin 2A/3A pin2pin |
Efficiency (peak) | 96% | 97% (5V to 3.3V) | 95% | 95% |
IQ | 2.3 µA | 4 µA | 4uA | 17uA |
VOUT discharge | Yes | Yes | Yes | Yes |
1ku price as in TI.com | $0.36 | $0.41 | $0.90 (1-A) $1.00 (2-A) | $1.05 (2-A) $1.20 (3-A) |
表1:TI适用于LDD驱动方案的buck产品选型表
Buck-Boost电源解决方案适用于一些激光发射器驱动芯片供电电压大于3.3V的情况。TI提供高开关频率的Buck-Boost芯片:TPS61099B。
TPS61099B是一颗即使在轻载下仍然通过强制PWM控制方案以保证在全负载范围内都能很好的抑制输出电源的高频纹波。3MHz的开关频率及1.23 x 0.88mmWCSP的封装极大的减小了整体电源方案的布板面积。1A的最大开关节点电流限制,适用于电流需求小于1A的绝大部分应用。如下是TPS61099B的典型应用电路。通过少量的外围无源元件即可实现。

图5:TPS61099B典型电路应用
2.PAM4DSP或者主MCU供电单元:
传统的10G及10G以下的光模块设计中,MCU的功耗往往相对较低,采用3A及以下的Buck降压芯片可以满足供电电源的参数设计。在50G及以上的高速光模块中,尤其是对于更多通道更远传输距离的LR4/ER4等高速光模块,往往不仅要采用功耗更高的PAM4-DSP控制芯片,还会加入FPGA单元提高数据的处理能力。这时,3A及以上的Buck降压芯片往往被工程师所采用。基于目前收集的对供电电源的要求,TI提供如下电源解决方案供光模块硬件工程师选择:
TPS62088 | TPS62864/66 | TPS82130 TPS82140 TPS82150 | TPSM82480 | |
Module or Convert | Convert | Convert | Module | Module |
Package | 0.8 x 1.2 WCSP | 1.05 x 1.78 mm WCSP | 3.0 x 2.8 x 1.5mm MicroSiPTM | 8 x 3.7 x 1.5mm QFM(MOP) |
Solution size | 12mm² | NA | NA | 64 mm² |
fSW | 4.0 MHz | 2.4 MHz | 2.2MHz | 3MHz |
VIN range VOUT range Iout(max) | 2.4V to 5.5V 0.6V to 4.0V 3A | 2.4 - 5.5V 0.4 - 1.15V 4A/6A pin2pin | 3 - 17V 0 – Vin 3/2/1A pin2pin | 2.4 – 5.5V 0.6 - 5V 6A |
Efficiency (peak) | 95% 90% | 95% | 90% | 95% |
IQ | 4 µA | 4 µA | 20uA | 23uA |
VOUT discharge | Yes | Yes | Yes | Yes |
1ku price as of April 1st 2020 | $0.51 | 0.68$(4A) 0.87$(6A) | 1.35$(3A) | 2.25$ |
表2:TI适用于PAM4DSP 或主MCU的buck产品选型表
3.APD高压驱动单元
雪崩光电二极管(Avalanche Photon Diode, APD)常在需要进行远距传输的光模块中在接收端的光电信号转换中被使用。在光电二极管的PN结上加上反向偏压后,射入的光被PN吸收后会形成光电流,加大反向偏压会产生雪崩(光电流成倍激增)的现象。同时利用了载流子的雪崩倍增效应来放大光电信号以提高检测的灵敏度。APD往往需要大于35V的高压进行驱动。TI提供集成有非同步升压及电流镜的TPS61391以驱动高压APD。
TPS61391是一颗集成非同步升压转换器及电流镜电路的APD驱动芯片。可以将金手指提供的3.3v的端口电压最大升压到85V。800mA的开关节点电流值可以保证在85V的高压输出情况下仍然能提供10mA的驱动电流值。内置的1:5和4:5的电流镜可以根据不同精度的电流监测自动无缝切换。700KHz的开关频率使得在外部电感设计的过程中,即使在占空比较小的情况下也能有效的控制电感体积。TPS61391的封装是3x3的QFN封装,占板面积相对较小。
同时TI也推出了TPS61390以应用在低速PON光模块。在内置与TPS61391相同规格的非同步升压转换器和电流镜电路的同时,继续集成采样保持电路,以适应FTTH典型网络中突发型光信号的接收。
如下是TPS61391的典型电路应用:

图6:TPS61391典型电路应用
4.EML激光发射器驱动电路:
EML激光发射器的驱动电路对于激光器电光信号转换的质量起到了重要的作用。针对于EML激光器,工程师在设计过程中主要涉及到EA负压驱动、恒电流光功率控制、TEC控制。
针对于TEC控制,TI提供通过Buck-boost芯片实现TEC控制,相比于传统的H桥控制模式,方案占板面积更小,成本更低,同时整体方案仍能保持在90%。TI提供的参考设计TIDA-050017为参考解决方案,以TPS63802/TPS63805为核心,通过数字化的温度PID控制以实现对EML激光器的恒温控制。


图7:基于TPS63802的TIA温度控制设计
针对于多通道高速光模块中EA负压驱动及恒流光功率控制,TI最新推出了一款高集成度的EML激光器驱动及监测芯片AMC60804。如下是AMC60804的内部系统框图。AMC60804内部集成有4路IDAC、4路VDAC以及12路ADC。IDAC可以提供从0到150mA的驱动电流,VDAC可以最大可以实现-5V到0V或0V到+5V的输出电压范围。同时,AMC60804也内置一个12通道的ADC。4路ADC采样IDAC的端口电压值,4路ADC采样VDAC的引脚电流值,AMC60804仍外置出4个通道的ADC采样,以实现部分光模块客户需求的LOS检测功能。ADC通道检测的结果可以通过AMC60804内置的寄存器去读写。AMC6084的封装是仅有2.5 x 2.5mm的WCSP封装,极大的优化了多通道高速光模块在设计布板时的难度。AMC60804是一颗专门用于EML激光器驱动及监测的芯片,目前已经量产,工程师可以在TI官网上找到完整的数据手册以及用于EVM调试的上位机软件AMC60804-EVM。

图8:AMC60804的典型框图
(三)本文小结
本文介绍了高速光模块近年来的市场情况,同时汇总了TI德州仪器高密度电源及信号链解决方案,囊括了光模块硬件设计工程师主要会用到的几个关键电源的设计。后续将持续更新光模块相关专题,汇总在光模块应用中可能使用到的运放单元,负载开关单元及多通道小封装的DAC/ADC芯片,同时会详细更新本文提到的基于Buck-boost开关型芯片的TEC控制,AMC60804的详细使用以及多种不同的单通道负压供电方案。
关于德州仪器 (TI)
德州仪器(TI)(纳斯达克股票代码:TXN)是一家全球性的半导体公司,致力于设计、制造、测试和销售模拟和嵌入式处理芯片,用于工业、汽车、个人电子产品、通信设备和企业系统等市场。我们致力于通过半导体技术让电子产品更经济实用,创造一个更美好的世界。如今,每一代创新都建立在上一代创新的基础之上,使我们的技术变得更小巧、更快速、更可靠、更实惠,从而实现半导体在电子产品领域的广泛应用,这就是工程的进步。这正是我们数十年来乃至现在一直在做的事。 欲了解更多信息,请访问公司网站http://www.ti.com.cn/。









