2023年11月16日,致力于亚太地区市场的国际领先半导体元器件分销商---大联大控股宣布,其旗下友尚推出基于意法半导体(ST)STELLAR-E1系列SR5E1 MCU的汽车OBC和DC/DC评估板方案。

图示1-大联大友尚基于ST产品的汽车OBC和DC/DC评估板方案的展示板图
当前随着“双碳”目标的不断推进,新能源汽车的市场规模持续提升。在这种背景下,人们对汽车电力系统提出了更高的性能需求和更严格的能效标准。其中,OBC和DC/DC作为关键组件,其功能与质量对于整车的性能和安全性至关重要。对此,大联大友尚基于ST STELLAR-E1系列SR5E1 MCU推出汽车OBC和DC/DC评估板方案,该方案可显著提高汽车电力系统的开发效率,进一步助力新能源汽车的推广。

图示2-大联大友尚基于ST产品的汽车OBC和DC/DC评估板方案的场景应用图
本方案核心采用的STELLAR-E1是ST推出的新一代汽车MCU系列产品。该系列中的SR5E1 MCU基于Arm® Cortex®-M7内核设计,旨在满足新型宽带隙功率技术、碳化硅和氮化镓所需的增强型数字控制和高性能模拟功能,适用于车载充电器、DC/DC转换器等功率转换应用以及牵引逆变器应用。
不仅如此,SR5E1 MCU还赋予了电动汽车软件升级能力,其支持先进的汽车功能性安全标准(ISO 26262 ASIL-D)和数据安全功能(HSM),满足行业标准软件互操作性(Autosar 4.3.x),并且内置高效、安全的空中重新编程,可以持续优化性能和升级车辆功能。

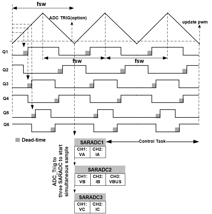
图示3-大联大友尚基于ST产品的汽车OBC和DC/DC评估板方案的方块图
除此之外,ST还提供了配套的SDK及demo例程,用户基于此评估板可以快速配置底层代码及算法的开环验证,加快OBC和DC/DC项目的软件开发。
基于此评估版实现的三相PFC发波验证:

图示4-基于此评估版的三相PFC发波时序图

图示5-逻辑分析仪测量的三相PFC发波时序
基于此评估版实现的CLLC PFM+phase shift模式发波验证:

图示6-CLLC PFM+phase shift模式发波时序图

图示7-逻辑分析仪测量的CLLC PFM+phase shift模式发波时序
基于此评估版实现的DC/DC PCMC模式发波验证:

图示8-DC/DC PCMC发波时序图

图示9-逻辑分析仪测量的-DC/DC PCMC 发波时序
核心技术优势:
AEC-Q100汽车认证;
SR5E1高性能模拟MCU:新型宽带隙要求的数字和模拟高频控制技术(SiC和GaN);
卓越的实时和功能安全性(ASIL-D);
内置快速和成本优化的OTA重编程能力;
高速安全密码服务(HSM);
双核2x 32-bit Arm® Cortex®‑M7 300MHz算力。
方案规格:
DC/DC电流环ADC采样及2P2Z算法环路执行时间2.43μs;
HRTIM 12通道,104 ps分辨率;
PFC 6ch PWM、CLLC 8ch PWM、DC/DC 6ch PWM;
SAR ADC 5x 12bit 2.5M采样;
PFC电流环为50KHz,电压环为1KHz;
CLLC ADC ISR和电压环均为50KHz;
DC/DC电压环为100KHz。
如有任何疑问,请登陆【大大通】进行提问,超过七百位技术专家在线实时为您解答。欢迎关注大联大官方微博(@大联大)及大联大微信平台:(公众账号中搜索“大联大”或微信号wpg_holdings加关注)。
关于大联大控股:
大联大控股是全球领先、亚太区最大的半导体元器件分销商*,总部位于台北(TSE:3702),旗下拥有世平、品佳、诠鼎及友尚,员工人数约5,000人,代理产品供货商超250家,全球78个分销据点,2022年营业额达259.7亿美金。大联大开创产业控股平台,专注于国际化营运规模与在地化弹性,长期深耕亚太市场,以「产业首选.通路标杆」为愿景,全面推行「团队、诚信、专业、效能」之核心价值观,连续23年蝉联「优秀国际品牌分销商奖」肯定。面临新制造趋势,大联大致力转型成数据驱动(Data-Driven)企业,建置在线数字化平台─「大大网」,并倡导智能物流服务(LaaS, Logistics as a Service)模式,协助客户共同面对智能制造的挑战。大联大从善念出发、以科技建立信任,期望与产业「拉邦结派」共建大竞合之生态系,并以「专注客户、科技赋能、协同生态、共创时代」十六字心法,积极推动数字化转型。(*市场排名依Gartner 2023年03月公布数据)