在高速数据采集与高清视频处理的世界里,信号链的精度与速度决定着系统的天花板。传统放大器面临动态范围受限、带宽不足、功耗过高的三重挑战。川土微电子CA-HP6242高速双通道轨至轨输出放大器,以“大带宽+低失真+强驱动能力”的三重优势,为专业视频与高速信号处理系统注入全新动能!
01产品概述
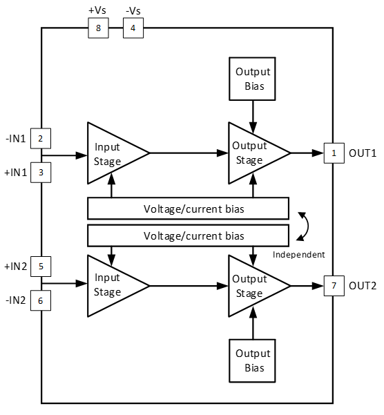
CA-HP6242是一款低功耗,电压反馈、高速运算放大器,可工作在±2.5V或±5V供电电压下。支持单电源供电,输入电压可低于负轨200mV,高至正轨以下1V。输出电压摆幅可达双轨的50mV以内(RL=10kΩ,典型值)。另外,在18MHz范围内,提供0.1dB的增益平坦度、0.02%的差分增益误差和0.04°的差分相位误差。基于这些特性,CA-HP6242适用于专业的视频信号处理,包括摄像头、视频开关及其他任何高速的设备。低谐波失真和快速建立特性使得CA-HP6242可以用于高速ADC的驱动级。
CA-HP6242在±5V供电下的工作电流低至13mA,提供SOIC8(S)、MSOP8(M)两种封装,工作温度覆盖-40℃~+125℃工业级范围。

02特性
满足±2.5V,±5V工作电压
输出摆幅±4.8V(RL=1kΩ,极限值)
输入电压范围低至低于电源低轨200mV
在输入超过工作电压0.4V时没有相位翻转
每通道功耗低至6.5mA
±5V供电时高速和快速建立:
• 135MHz,-3 dB带宽(G=+1)
• 235V/μs 的电压转换速率
• 16ns的1%的建立时间
视频指标(RL=150Ω, G = +2)
• 18MHz以内0.1dB的增益平坦度
• 0.02%的差分增益误差
• 0.04°的差分相位误差
低谐波失真:-77dBc 最差谐波(5MHz输入信号)
50mA驱动电流
工作温度:-40°C ~125°C
03 典型应用场景
视频系统:专业摄像头信号调理、视频切换矩阵、高清视频传输链路
高速数据采集:高速ADC驱动器、测试测量设备前端缓冲、示波器输入级
医疗成像设备:超声前端信号调理、医疗监控设备模拟通道
工业控制:自动化设备传感器信号放大、高速闭环控制回路
CA-HP6242以“大带宽、低失真、强驱动能力”为核心优势,成为专业视频处理与高速数据采集系统的优选解决方案。其低功耗特性与工业级可靠性,进一步助力客户提升系统能效与鲁棒性。