产品概述
ET8330A是一款专门为便携式设备的核心电源系统供电的高效率低压大电流同步降压转换芯片,其可以为处理器、存储器、硬盘、SDD、LPDDR4/5等模块供电,持续带载能力可以达到3A以上。
其输入电压范围2.5V~5.5V,输出电压范围0.5V~1.315V(步进5mV,可以通过I2C接口进行编程),同时其输出电压调节可以通过寄存器设置转换速率从而实现动态调压(DVS)。
ET8330A在轻载条件下工作于脉冲频率调制(PFM)模式,此时静态电流仅有30uA。在重载条件下,会自动切换至固定频率2.4MHz的脉宽调制(PWM)模式以实现重载下的输出纹波以及优异的瞬态响应。关断模式下的静态功耗小于1uA,从而实现长待机。同时还可以根据实际应用场景,通过寄存器设置成强制PWM模式以满足不同的需求。
ET8330A采用15焊球的晶圆级 (WLCSP) 芯片封装(1.15mm×1.95mm),球间距0.4mm。
产品特点
可编程输出电压:0.5V~1.315V
输入电压范围:2.5V~5.5V
可编程压摆率,支持动态电压调节(DVS)
轻载条件下采用PFM工作模式
卓越的负载瞬态响应性能
连续输出电流:3A
PFM模式下空载输入电流为30μA
内置过热关断与过流保护功能
采用WLCSP15封装形式(1.15mm×1.95mm,0.4mm 引脚间距)
典型应用

图1:ET8330A Application Circuit
管脚定义

TOP View BOTTOM View
图2:管脚定义
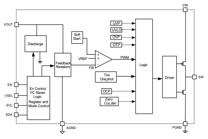
功能框图

图3:功能框图
关键数据
(1)效率曲线:

图4:Efficiency vs. Load Current and Input Voltage, VOUT=0.600V

图5:Efficiency vs. Load Current and Input Voltage, VOUT=1.125V
(2)输出纹波:

图6:PFM模式

图7:PWM模式
(4)负载瞬态响应:

图8:VOUT=0.6V, Load Transient Test
(5)输入瞬态响应:

图9: VOUT=0.6V, Line Transient Test
来源:力芯微电子